The patent US10262281B1, introduces a method for distributed data acquisition in performance monitoring systems. This system allows us to collect data from multiple sources across a network without relying on a centralized server. Instead, each data source communicates directly with a monitoring device, reducing the need for complex, centralized infrastructure.
Prior art in this area faced challenges with scalability and efficiency due to centralized architectures. Our innovation overcomes these obstacles by using a distributed model, making it easier for us to collect real-time data in large-scale environments.
Using the Global Patent Search Tool, we can see how this distributed approach stands out from previous solutions, emphasizing its significant impact on performance monitoring technology. Let’s dive deeper into the findings.
Curious about the latest innovations? Check out our newest post for more insights.
How We Conducted the Prior Art Search for US10262281B1
To identify the most relevant prior art for US10262281B1, we utilized the Global Patent Search Tool, a cutting-edge platform for quickly locating relevant patents and documentation. Here’s how we approached the process:
- Starting with the Patent Number
We began by entering US10262281B1 into the search field, allowing the tool to target the specific patent we were investigating.
- Refining the Search by Priority Date

For accuracy, we refined the search to include only documents predating the patent’s priority date—June 11, 2007. This ensured that we reviewed prior art that could directly affect the claims of US10262281B1.
- Executing the Search
Once the parameters were set, we initiated the search, allowing the tool to compile a comprehensive list of patents that could potentially serve as prior art.
- Evaluating the Results
The tool then provided us with a ranked list of relevant patents, organized by their technological relevance, filing dates, and similarities in content to US10262281B1.
Top 10 Prior Art Search Results for US10262281B1
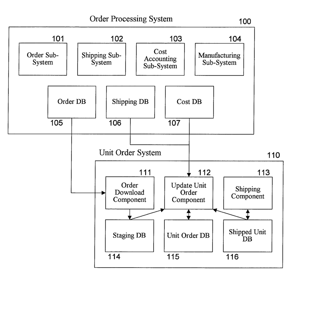
We conducted a comprehensive prior art search for patent US10262281B1, which relates to a method and system for centralized order status tracking in a decentralized ordering system. This patent has broad applications in industries requiring real-time order tracking across distributed networks.
Using our Global Patent Search Tool, we identified the top 10 prior art patents that could potentially impact the novelty and claims of US10262281B1. Here are the key findings:
1. Order Logging System And Method (WO0115040A1)

Filed: Aug 18, 2000
Published: Mar 01, 2001
Summary: This invention offers a system for tracking customer orders and notifying them when their orders are ready. It highlights a decentralized order status tracking mechanism similar to that in US10262281B1, with a focus on customer notifications via email.
2. System And Method For Ordering Products Or Services (US20010039522A1)

Filed: Jun 01, 2001
Published: Nov 08, 2001
Summary: This automated ordering system manages transactions between customer and vendor stations through a central hub, enabling real-time order tracking. The system’s centralized communication model closely aligns with the tracking mechanisms in US10262281B1.
3. Inventory And Point Of Sale Management System (US20070175992A1)

Filed: Jan 23, 2007
Published: Aug 02, 2007
Summary: This system integrates inventory management with real-time point of sale transactions, providing tracking across distributed points of sale. The focus on real-time updates mirrors US10262281B1’s decentralized order tracking functionality.
If you want to see a real-world example of how prior art search tools uncover relevant documents in pattern-recognition technologies, you can check our detailed analysis of US6678427B1, which focuses on document identification and image-based pattern matching.
4. Product Fulfillment System (US20010042023A1)

Filed: Jan 22, 2001
Published: Nov 15, 2001
Summary: This fulfillment system tracks orders across multiple suppliers, ensuring real-time updates when a product is unavailable. The use of decentralized supplier communication is highly relevant to the methods described in US10262281B1.
5. Ordering Information Management System (JP2002366813A)

Filed: Jun 06, 2001
Published: Dec 20, 2002
Summary: This system manages complex ordering information for multiple customers and suppliers, with a focus on real-time communication. The decentralized information handling parallels the distributed network approach in US10262281B1.
6. Method And System For Tracking Units Of An Order (US20020147602A1)

Filed: Apr 10, 2001
Published: Oct 10, 2002
Summary: This system tracks individual units within an order using a database, providing detailed tracking at a granular level. The unit-based tracking offers a similar approach to US10262281B1’s decentralized order tracking system.
7. Order-taking System With Wireless And Internet-based Communication (NZ570371A)

Filed: Feb 01, 2007
Published: Oct 28, 2011
Summary: This order-taking system enables wireless and internet-based order placement and tracking. The dual-mode communication and real-time tracking closely align with the decentralized tracking features in US10262281B1.
8. Network Ordering System And Network Server (JP2008004070A)

Filed: Mar 30, 2007
Published: Jan 10, 2008
Summary: This system manages network-based order processing for multiple retailers, offering decentralized management of orders. The batch processing capabilities provide a relevant comparison to the real-time tracking described in US10262281B1.
9. System For Order Purchasing And Fulfillment (WO2006060439A2)

Filed: Nov 30, 2005
Published: Jun 08, 2006
Summary: This system streamlines both retail and wholesale order fulfillment by automating the tracking and processing of orders. Its real-time processing and coordination between multiple parties complement the distributed tracking mechanism in US10262281B1.
10. Order Processing System (US20050049921A1)

Filed: Aug 29, 2003
Published: Mar 03, 2005
Summary: This system maintains electronic associations between customer orders and their delivery locations, allowing real-time adjustments. The emphasis on flexible order management resonates with the decentralized order tracking approach in US10262281B1.
Final Thoughts
In the ever-evolving landscape of technology, having a powerful tool to track not only patent history but also its alignment with emerging innovations is crucial. That’s where the Global Patent Search Tool excels.
Our tool goes beyond standard patent search features. It offers a deep dive into the intersection of established patents and forward-thinking technologies, delivering invaluable insights for inventors, researchers, and businesses. Whether you’re investigating prior art or seeking fresh directions for your innovations, this tool supports every phase of the innovation process.
Let the Global Patent Search Tool guide your prior art exploration, fuel new ideas, and pave the way for your next groundbreaking innovation. Start your journey with confidence today!
Disclaimer
This article is for informational purposes only and does not provide legal advice. The results from the Global Patent Search Tool should be used for research, not as legal guidance. For any legal matters, consult a qualified attorney.